Choose the correct answer:
A large energy company is striving to be a process-driven organization and support lean and efficient operations.
Which BMM concept models this description?
Choose the correct answer:
What does the Supply-Chain Council's Supply-Chain Operations Reference-model (SCOR) use to describe supply chains?
Choose the correct answer:
According to the OMG's BPMM, which is a responsibility of the sponsor of a business process change effort?
Choose the correct answer:
Which statement is true about the following process?

Choose the correct answer:
Which is a recognized perspective covered by Balanced Scorecard?
Choose the correct answer:
Which diagram could mean after completing task A, wait one hour before starting task B?

Choose the correct answer:
Which statement describes the concept of an End Event in BPMN?
Choose the correct answer:
A process normally has steps A, B, C, and D. If step C is not completed within 3 days of the start of the process, immediately end the process with a failure notification.
Which diagram describes this scenario?

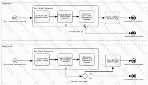
Choose the correct answer:
Which statement is true regarding the two diagram fragments?

Choose the correct answer:
Which graphic about data objects in BPMN is correct?


Choose the correct answer:
Which statement properly describes the following process?


Choose the correct answer:
Which is a statement of the goal of the following process?
Choose the correct answer:
Which elements of the Business Motivation Model (BMM) govern Courses of Action?
In Business Process Management: The Third Wave, Smith and Fingar partition human-system interaction into which four categories?
Choose the correct answer:
Which of the three levels of BPMN process modeling is easiest to communicate across the organization?
Choose the correct answer:
What is the meaning of a collaboration containing two white box pools?
Choose the correct answer:
What is a possible meaning for a timer intermediate event in a sequence flow?
Choose the correct answer:
Which business function is generally considered a support function?
Choose the correct answer:
Which description of text annotation in BPMN is true?
Choose the correct answer:
In cost accounting, how are expenses such as electricity and water called?